PROJECTEUR INFRA-ROUGE



Ce projecteur infrarouge permet de filmer dans le noir intégral avec un camescope ou une caméra CCD dont la sensibilité est au moins de 2 lux, ce qui permet de surveiller un bébé, une entrée ou des animaux (l'image sera en noir et blanc)

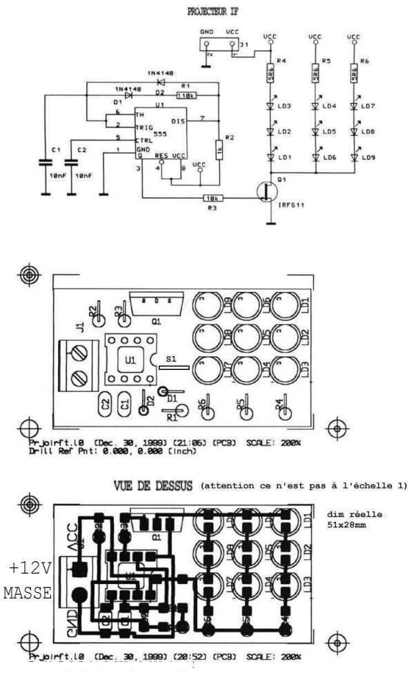
Le schéma et l'implantation des composants

Circuit imprimé

Liste des composants
U1= NE555,    DIP8,
C1= 10NF,     CERCON2A,céramique
C2= 10NF,     CERCON2A,
Q1= IRF611,   TO220,FET_N;
LD1,LD2,LD3,LD4,LD5,LD6,LD7,LD8,
LD9=TSHA-6203 (DIODE INFRAROUGE DE 50mW/sr,
dispo chez conrad (www.conrad.fr)
R1= 110K,1/4W 
R2= 1K,       
R3= 10K,      
R4= 5R6,      
R5= 5R6,      
R6= 5R6,      
J1= BORNIER de 2 bornes
D1, 1N4148,   DO35_5
D2, 1N4148,   DO35_5,
S1  STRAPPE